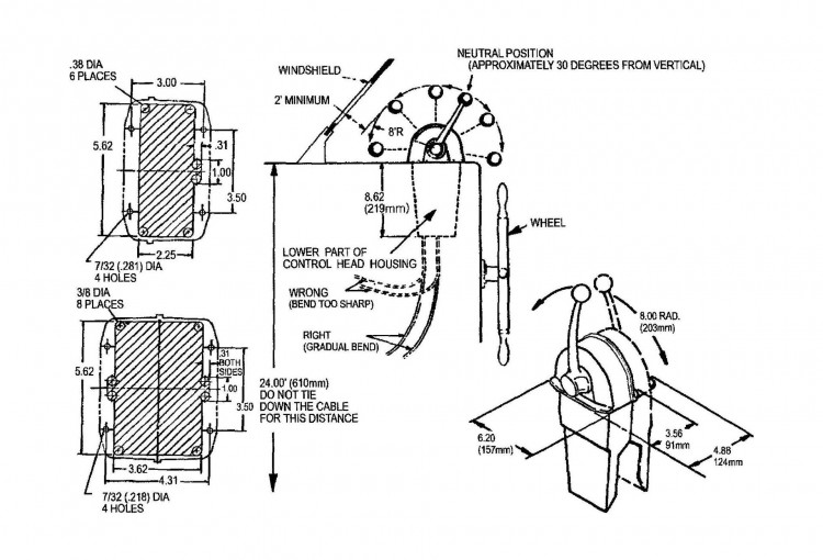
- Дистанционное управление переключения передач и газа. Возможность монтажа под правую или левую руку. Три положения переключения передач. Три регулировки длины хода троса включения передач: 68.5 мм, 75.12 мм, 81.72 мм (на выбор). Адаптация типа "работы газа" - тянет или толкает (по умолчанию толкает). Прогрев двигателя на нейтральной передачи (оттянуть рычаг в бок). Пригодны для всех подвесных моторов и стационарных двигателей. Механизм блокировки запуска двигателя, гарантирующий запуск двигателя только на нейтральной передаче (два двигателя). Хромированный корпус.
Производитель: PRETECH Articul: 00089814 Вес: 0 кг Материал: Нержавеющая сталь Страна производителя: Корея - Пока отзывов нет...Оставьте первый комментарий!
Оставьте отзыв об этом товаре первым!
Екатеринбург
Ваш город Екатеринбург?






